Технический перевод

 Операции с матрицами: программирование на C++

  

Главная

 

 

18. Преимущества и недостатки арок по сравнению с балками

 

1. Для большинства строительных конструкций, таких как перекрытия зданий, пролетные строения мостов и т.п. основной нагрузкой является вертикальная нагрузка, направленная вниз. Легко убедиться, что для такой нагрузки горизонтальные реакции в опорах арки будут направлены навстречу друг другу, т.е. значение распора Н будет положительным (см. например, “Пример расчета арки параболического очертания под действием вертикальной нагрузки” и “Пример расчета арки с затяжкой”). Основным достоинством арочных конструкций является то, что в этом случае, в соответствии с формулой http://www.stroitmeh.ru/lect18.files/image002.gif изгибающий момент в любом сечении арки всегда меньше, чем в том же сечении соответствующей балки. За счет этого, а также за счет действующих в арке продольных сжимающих усилий, растягивающие напряжения в сечениях арки малы или отсутствуют (рис. 18.1). Это очень важно для каменных и бетонных конструкций,  которые, как известно, могут выдерживать высокие сжимающие напряжения, но практически не работают на растяжение.

 

image263

Рис. 18.1

 

2. Арочные конструкции отличаются большей эстетичностью.

3. Балочные конструкции значительно более технологичны с точки зрения изготовления, транспортировки и монтажа по сравнению с арочными.

4. Арки передают на опоры значительные горизонтальные усилия (рис. 18.2). В связи с этим, опоры арочных конструкций должны быть достаточно мощными, чтобы воспринять эти усилия и передать их на основание.

image265

       Рис. 18.2     

 

Использование арок с затяжками позволяет значительно уменьшить горизонтальные опорные реакции. Металлическую затяжку применяют, например, для уменьшения нагрузок на пяту каменного свода (рис. 18.3).

 

image267

Рис. 18.3

 

 

18.1. Арки рационального очертания

 

Арка рационального очертания - такая арка, в каждом сечении которой при вертикальной нагрузке определенного вида изгибающий момент равен нулю. Чтобы http://www.stroitmeh.ru/lect18.files/image009.gif в соответствии с http://www.stroitmeh.ru/lect18.files/image002.gif  необходимо добиться выполнения равенства http://www.stroitmeh.ru/lect18.files/image011.gifт.е. задать очертание арки по формуле

http://www.stroitmeh.ru/lect18.files/image013.gif

Поскольку в центральном шарнире http://www.stroitmeh.ru/lect18.files/image015.gif из http://www.stroitmeh.ru/lect18.files/image002.gif  следует http://www.stroitmeh.ru/lect18.files/image017.gif, т.е. http://www.stroitmeh.ru/lect18.files/image019.gif.

Подставляя эту формулу в (18.1), получим:

http://www.stroitmeh.ru/lect18.files/image021.gif

Поскольку http://www.stroitmeh.ru/lect18.files/image023.gif и f не зависят от координаты x, из (18.2) следует, что y(x) должна быть пропорционально изгибающему моменту в балке, соответствующей рассматриваемой арке.

В соответствии принципом суперпозиций с увеличением нагрузки в k раз все силовые факторы, включая http://www.stroitmeh.ru/lect18.files/image025.gif и http://www.stroitmeh.ru/lect18.files/image027.gif, также должны увеличится в k раз, а значит соотношение http://www.stroitmeh.ru/lect18.files/image029.gif не изменится при пропорциональном изменении нагрузки. Таким образом, если очертание арки y(x) выполнено в соответствии с формулой (18.2) для какой-то нагрузки, то и при пропорциональном ее увеличении или уменьшении моментов в арке не возникнет. Другое дело, если изменится вид нагрузки, например, равномерно распределенная нагрузка будет заменена сосредоточенными силами.

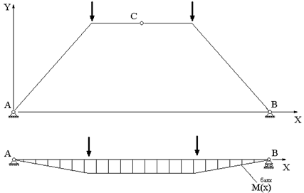
Итак, для построения арки рационального очертания для нагрузки определенного вида достаточно построить эпюру изгибающего момента в балке, соответствующей данной арке, и, задавшись значением f, определить очертание арки по формуле (18.2). В частности, рациональным очертанием для арки, загруженной равномерно распределенной нагрузкой, будет параболическое очертание, поскольку изгибающий момент в соответствующей балке меняется по закону параболы (рис. 18.4). На рис. 18.5 и рис. 18.6 приведены примеры арок рационального очертания для нагрузок других видов.

image291

Рис. 18.4

 

image293

Рис. 18.5

 

image295

Рис. 18.6